Aparaty laboratoryjne

Szkło laboratoryjne

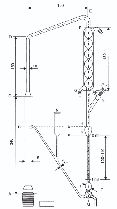
Aparat do destylacji z parą wodną oznaczanie kwasowości lotnej

AsortymentKOD
Kompletny Aparat05APDPW
Kolba kulista 2000 ml –wytwornica pary wodnej 
Nasadka 29/32 do kolby 2000ml z dwiema rurkami 
Kolba kulista 500ml szlif29/32 z bocznym tubusem 14/23 
Rurka ze szlifem 14/23 doprowadzająca parę wodną 
Deflegmator ze szlifami 29/32 i 19/26 
Chłodnica Liebiga 400mm ze szlifem 19/26 

 

Szkło laboratoryjne

Aparat do oznaczania azotanów

AsortymentKOD
Aparat do oznaczania azotanów05APNO3
Kolumna z kranem o średnicy 14-16mm 
Rurka kapilarna o średnicy wewnętrznej 2mm 

Szkło laboratoryjne

Aparat do oznaczania cyjanków

 Kompletny aparatKOD 05APCN

 

Kolba kulista,1000ml, sz. 29/32 z bocznym

tubusem sz.19/26

 05APCNK

Wkraplacz sz.29/32,

 05APCNW

Chłodnica Allihna, sz.19/26

 05APCNCHA

Płuczki Dreschla 100ml sz29/32 2 sztuki

 05APCNPD

Kolba Erlenmeyera 250ml sz. 29/32

 05APCNKE

Nasadka ssąca do kolby Erlenmeyera

 05APCNNS

PN-80/C-04603.01

Szkło laboratoryjne

Aparat do oznaczania SO2

 KOD 05APSO2

Kolba kulista 1000ml, sz. 29/32, wkraplacz

Płuczka szklana 100 ml

Chłodnica kulkowa, sz. 29/32

Kolba Erlenmeyera 250 ml sz. 29/32

Nasadka na Kolbę Erlenm.

Rurki Peligota ze szlifami 14/23

Łącznik ze szlifami 14/23

 

Szkło laboratoryjne

Aparat do oznaczania fenolu z kolbą 1000ml

 KOD
Aparat z kolbą05APFEN
Aparat bez kolby 
Kolba 1000ml szlif 29/32 oraz 19/26 i korek 

Szkło laboratoryjne

Aparat do fosforowodoru

 KOD
Kompletny Aparat05APDF
Butle simax 205ml oraz 500ml z nasadką 
Kolba 500ml szlify 29/32 oraz 2×14/23 

Wkraplacz ze szlifem

 
Podkładka pod kolbę 
Nasadki 
Statyw 
Wąż do gazu 

Szkło laboratoryjne

Aparat do CO2

KOD05APCO2

 

Szkło laboratoryjne

Aparat Soxhleta

 KOD
Kąpletny aparat05APS
chłodnice kulkowe do ekstraktorów Soxhleta05CHKS
Ekstraktor Soxhleta05ETS

Szkło laboratoryjne

APARAT KUDERNA - DANISH

 SzlifKOD
Aparat Kuderna – Danish 05APK-D
Kolumna Snydera 300mm2x 24/4005APK-DKS
Kolumna Snydera 300mm2x 29/3205APK-DKS2
Naczynie 500ml24/40 i 19/2305APK-DN
Naczynie 500ml29/32 i 19/2305APK-DN2
Koncentrator 10ml19/2305APK-DK

 

Szkło laboratoryjne

APARAT KUDERNA - DANISH - kolumna Snydera

Szkło laboratoryjne

APARAT KUDERNA - DANISH - naczynie 500ml

Szkło laboratoryjne

APARAT KUDERNA - DANISH - koncentrator 10ml

Szkło laboratoryjne

APARAT DERYNGA

 KOD
Aparat Derynga05APDER
  
  

Szkło laboratoryjne

APARAT CLEVENGERA

 KOD
Aparat Clevengera do
olejków
05APCLE
  
  

Aparaty laboratoryjne – precyzyjne rozwiązania do różnorodnych analiz

Na naszej stronie oferujemy szeroką gamę aparatów laboratoryjnych przeznaczonych do precyzyjnych analiz chemicznych. Nasze aparaty charakteryzują się wysoką jakością wykonania, zapewniając niezawodność i dokładność pomiarów. W naszej ofercie znajdziesz m.in.:

Aparat do cyjanków

Aparat do oznaczania cyjanków to niezbędne narzędzie w analizach chemicznych, umożliwiające dokładne oznaczanie zawartości cyjanków w próbkach. Zestaw zawiera kolbę kulistą, chłodnicę Allihna, płuczki Dreschla oraz nasadki ssące, zapewniając kompleksowe i skuteczne rozwiązanie do wymagających badań chemicznych.

Inne aparaty

  • aparat do oznaczania azotanów -zaprojektowany do precyzyjnych analiz azotanów w próbkach wodnych;
  • aparat do oznaczania SO2 – idealny do analiz zawartości dwutlenku siarki;
  • aparat Soxhleta – niezastąpiony w procesach ekstrakcji;
  • aparat Kuderna-Danish – używany w koncentracji próbek.

Wyjątkowa jakość i precyzja

Nasze aparaty wykonane są z wysokiej jakości szkła borokrzemowego, co gwarantuje ich trwałość i odporność na różnorodne warunki laboratoryjne. Dzięki precyzyjnemu wykonaniu, nasze produkty spełniają najwyższe standardy jakości, co pozwala na uzyskiwanie wiarygodnych i dokładnych wyników analiz.

Przewiń na górę